第四章 安全疏散和救援
4.1 安全出口、疏散宽度与疏散距离
4.1.1 《建筑防火通用规范》《建筑设计防火规范》及本《指南》相关条文中,涉及要求“设置独立的安全出口或疏散楼梯”“安全出口或疏散楼梯独立设置”的,当场所为电影院、儿童活动场所时,该独立设置的安全出口或疏散楼梯,在同层以及上下层均不应与其他场所共用。
涉及住宅的独立设置安全出口的规定按《建筑防火通用规范》《建筑设计防火规范》的相关规定执行。
其他场所除特别注明外,“设置独立的安全出口或疏散楼梯”,一般指在同层不应与其他场所共用,上下层可共用。
涉及“疏散完全独立”的要求,安全出口和疏散楼梯在同层以及上下层均不应与其他场所共用。
〔说明〕修订并新增条文。根据规范组对《办公建筑设计标准》《商店建筑设计规范》的解释,不在同一楼层的商场、娱乐、餐饮、办公、酒店等可共用垂直疏散楼梯,《办公建筑设计标准》允许设值班办公室。
4.1.2 餐饮场所的营业面积是指餐厅面积,不包括厨房面积;商店建筑中的餐厅应明确餐厨布置,当餐厅未设置固定座位时,应以餐厅面积(含厨房、前厅、点菜、吧台区域)按商店营业厅的人员密度计算确定;当餐厅设置固定座位或有独立隔间(用固定构件分隔)的包厢时,其疏散人数可按实际座位数的1.1倍计算。
酒店中的宴会厅、餐厅疏散人数计算应按《旅馆建筑设计规范》 JGJ 62的规定执行。
〔说明〕修订条文内容。本条第一段主要针对的是附设在商店建筑中的餐饮场所。
4.1.3 有固定座位的场所,其疏散人数可按实际座位数的1.1倍计算,该场所为电影厅时,其疏散人数应为影厅内座位数、工作人员数和候场人数之和,每层候场人数应按该层各厅平均座位数且不小于该层各厅总座位数的20%计算。
4.1.4 办公场所的疏散人数可按建筑面积9.3㎡/人计算。
4.1.5 歌舞娱乐放映游艺场所计算最大容纳人数时,应按厅室建筑面积计算,连接厅室的公共走道面积不计入在内。其中桑拿浴室的疏散人数可按照更衣柜数量的1.1倍计算,当桑拿浴室中设有不经过更衣室直接进出的使用功能时,应根据实际情况核算人数。
〔说明〕桑拿浴室中如另设有不经过更衣可直接进出的使用功能时(如足疗、客房等),应根据实际情况计算疏散人数。
4.1.6 健身房、游泳池、溜冰场的疏散人数可按照更衣(鞋)柜数量的1.1倍计算。
4.1.7 除下列部位外,当人员需要通过相邻防火分区疏散时,相邻两个防火分区之间应采用防火墙(甲级防火门)分隔,开口部位不应采用防火卷帘、防火分隔水幕等措施替代:
1 相邻两个防火分区之间的中庭四周的防火卷帘; 2 汽车库行车道上设置的防火卷帘。
〔说明〕调整表述,并整合《指南(2020版)》第4.1.8条车道处设置卷帘的要求。
4.1.8 除地下室非人员密集场所所在防火分区不可利用通向相邻人员密集场所所在防火分区的门作为安全出口外,地下室其余场所之间可按《建筑设计防火规范》第5.5.9条的规定执行。
〔说明〕部分内容调整与合并,本条明确是否可借用疏散的原则。《建筑设计防火规范》第5.5.9条并未禁止非人员密集场所防火分区利用人员密集场所防火分区的甲级防火门作为安全出口,本《指南》对地下室提高要求。汽车库为非人员密集场所。
4.1.9 在地下汽车库防火分区满足2个安全出口的条件下,人员可利用相邻汽车库防火分区或其他非人员密集场所防火分区的防火墙上的甲级防火门疏散,车道处可设防火卷帘。
〔说明〕本条主要解决汽车库防火分区局部疏散问题,允许利用相邻汽车库分区或其他非人员密集场所防火分区进行疏散,但不得利用相邻人员密集场所防火分区进行疏散。疏散距离计算到开向相邻防火分区的甲级防火门即可。此处的“2个安全出口”含符合本《指南》第4.1.21条要求的共用疏散楼梯。
4.1.10 地下商业可利用通往避难走道的门作为任一防火分区的安全出口使用,但应满足以下要求:
1 地下商业每层疏散总宽度应符合规范要求,通向下沉式广场等室外开敞空间的门以及疏散楼梯的宽度计入疏散总宽度;
2 通向避难走道门的宽度不应计入疏散总宽度;避难走道直通地面的不大于避难走道净宽度的楼梯、台阶宽度可计入疏散总宽度;
3 任一防火分区设有通往下沉式广场等室外开敞空间或疏散楼梯时,可利用避难走道作为第二安全出口,但通往避难走道的疏散宽度不应大于该防火分区疏散总宽度的30%;
4 避难走道内任一点至室外、疏散楼梯或下沉式广场等室外开敞空间的距离不应大于60m;
5 避难走道不能用于人员疏散外的其他用途;其顶板应为耐火极限不低于1.50h的不燃烧体,顶板下不得穿越通风(空调)风管、排烟管道及无关的电缆桥架等管道和线路;
6 避难走道的其余设计应符合现行国家标准《建筑防火通用规范》GB 55037和《建筑设计防火规范》GB 50016的规定。
〔说明〕统一标准名称。
4.1.11 住宅建筑架空层仅作为景观、人员通行使用时,疏散外门至架空层投影外边缘的水平距离不应大于15.0m;当该架空层范围内设置电动自行车停车区域时,与其他区域之间应采取防火分隔措施。距离架空层投影外边缘的6m水平距离范围内可设置进风口。
〔说明〕《指南(2020版)》第4.1.34条后半部分内容调整至本条,并明确与电动自行车停车区域的防火分隔要求。
4.1.12 建筑的架空层、下沉式广场的回廊、敞开外廊等空间,当符合下列规定时,相应区域可视为安全区域,该安全区域内可设置疏散出口和进风口:(附图4.1.12)
1 该空间应仅作为人员通行使用;
2 当层高Hs≤6.0m时,该区域的进深Ls不应大于6.0m;当层高Hs>6.0m时,该区域的进深Ls不应大于Hs。进深大于6.0m(层高Hs≤6.0m时)或大于Hs(层高Hs>6.0m时)的部分应按室内要求进行消防设计,与其外侧安全区域之间应设置防火分隔措施或挡烟垂壁;
3 当安全出口位于该进深过大部分时,应设置疏散走道通至本条所述的安全区域,走道两侧防火隔墙耐火极限不低于2.00h。

附图4.1.12 架空层、下沉式广场的回廊、敞开外廊等空间的安全区域 〔说明〕《指南(2020版)》第4.1.34条内容调整后新增本条文。空间的进深是指计算至架空层、回廊、外廊顶部投影外边缘的水平距离。当结构梁高大于该区域层高20%时应考虑其对该区域净高的影响。
4.1.13 下沉式广场等室外开敞空间(以下简称“下沉广场”)的消防设计,除应符合《建筑设计防火规范》的相关规定外,尚应满足下列要求: 1 地下室朝向“下沉广场”的外墙与“下沉广场”之间回廊的进深不超过6m,且回廊区域仅作为人员通行使用时,可不划分防火分区,不计入防火分区面积;当回廊进深超过6m时,应按本《指南》第4.1.12条相应规定执行;
2 “下沉广场”用于疏散的净面积不应小于169㎡,且该敞开空间的露天开口部位的短边不应小于13m;
3 当“下沉广场”用于地下或半地下商业20000㎡之间的分隔时,分隔后不同区域通向“下沉广场”的开口最近边缘之间的水平距离不应小于13m,同一区域内不同防火分区通向“下沉广场”的门窗之间的距离应满足《建筑设计防火规范》第6.1.3条、第6.1.4条的有关规定。
〔说明〕本条为《指南(2020版)》第4.1.11条,本次修订回廊的部分要求。“下沉广场”通向地面的露天台阶可设置在第2款规定的“露天开口部位”。
4.1.14 符合《建筑设计防火规范》第6.6.4条规定满足安全出口条件的天桥、连廊,通过该连廊、天桥向相邻建筑的疏散宽度不应大于相邻建筑与连廊相连通的防火分区疏散总宽度的30%。
〔说明〕本条为《指南(2020版)》第4.1.12条提高要求。通常认为连廊的消防
疏散是需要考虑的。宽度小于6m的两个建筑之间的连廊(封闭或不封闭)仅用于交通联系不用于疏散时,防火分区面积可以不计。修改提高了需要向相邻建筑疏散时自身的疏散要求,相邻建筑的管理情况、开放时间等问题会直接影响到疏散。
4.1.15 除规范和本《指南》另有规定外,当民用建筑内的场所设置自动喷水灭火系统时,其疏散直线距离可增加25%。
〔说明〕本条为《指南(2020版)》第4.1.14条修订,删除有关行走距离的表述。直线距离是针对内部布置不确定或者明确有隔墙的情况下的距离控制,疏散用直线距离计算时,对于没有内部布置时相当于画圆的半径,对于设置有各类隔墙(或高货架等固定障碍物)时,则应按照任一点到隔墙上开口(或绕开高货架等固定障碍物)再到安全出口的折线距离控制,不得穿越实体墙、中庭上空等非物理可通行的区域。
行走距离属于后续管理上的加强要求,需绕开所有障碍物如桌子、座椅、低矮柜台等。设计时应注重对疏散直线距离的控制。
4.1.16 一、二级耐火等级建筑的疏散内走道两侧的墙应为耐火极限不低于1.00h的墙,除规范另有规定外,墙上的门可为普通门。当墙上设置普通窗(洞)时,或疏散走道两侧墙(部分或全部)的耐火极限低于1.00h时,应符合下列规定:
1 当该房间位于两个安全出口之间满足双向疏散时,从房间内任一点至最近安全出口的疏散直线距离不应大于30m;但医疗建筑的高层病房楼、托儿所、幼儿园、老年人照料设施的疏散直线距离应按照《建筑设计防火规范》表5.5.17疏散门位于两个安全出口之间的直线距离的规定执行; 当该房间不满足双向疏散时,从房间内任一点至最近安全出口的疏散直线距离应按照《建筑设计防火规范》表5.5.17中疏散门位于袋形走道两侧或尽端的直线距离控制或按本《指南》第4.1.31条的丁字形走道距离的规定执行;
2 分隔至顶板的玻璃隔断等轻质不燃隔断可作为挡烟垂壁使用; 3 当建筑疏散内走道设置普通窗面积不大于该房间内走道侧墙面面积的25%时,房间疏散直线距离可不按本条第1款的距离控制,但应符合下列规定:
(1)当房间门为普通玻璃门时,门洞面积计入本款普通窗面积;(附图4.1.16)
(2)疏散内走道应设置有效的排烟设施,排烟量或自然排烟口有效面积应在按《防排烟标准》和本《指南》相关规定进行计算的基础上加大不小于20%,当采取机械排烟方式时排烟风机宜采取备用措施。

附图4.1.16 普通窗面积控制
〔说明〕本条为《指南(2020版)》第4.1.15条修订,加强了建筑内走道设置侧窗后仍按疏散门通过走道至安全出口的疏散方式时的要求。
本条第1款强调的场所,主要是该类场所的疏散距离并不是以30m为基数,应按《建筑设计防火规范》表5.5.17来控制。
4.1.17 当厅室面积小于400㎡的展览厅、多功能厅、餐厅、营业厅、多厅电影院的观众厅等疏散门不能直通室外地面或疏散楼梯间时,除可按照《建筑设计防火规范》第5.5.17条第4款规定执行外(其中“长度不大于10m的疏散走道”是指疏散距离不大于10m);也可按《建筑设计防火规范》表5.5.17直通疏散走道的房间疏散门至最近安全出口的疏散距离要求执行,但厅室内任一点至疏散门的距离应按照《建筑设计防火规范》第5.5.17条第3款规定执行。
〔说明〕本条为《指南(2020版)》第4.1.16条修订,设置自动喷水灭火系统后的疏散距离统一按本《指南》第4.1.15条的规定。虽然《建筑设计防火规范》第5.5.17条第4款并未要求按厅室面积区分疏散距离的计算方式,对于面积较大的营业厅这一类的厅室还是推荐采用更直接的疏散模式。
4.1.18 一、二级耐火等级建筑内的歌舞娱乐放映游艺场所,当房间的安全出口不少于2个时,其室内任一点至最近安全出口的疏散直线距离不应大于18m。
〔说明〕本条为《指南(2020版)》第4.1.17条修订,明确本条所指场所中的房间疏散门即为安全出口时,疏散直线距离的要求。符合本条规定的情况下,疏散距离在《建筑设计防火规范》第5.5.17条第3款规定的9m基础上增加1倍,当设置自动喷水灭火系统后的疏散距离统一按本《指南》第4.1.15条的规定。
4.1.19 《建筑设计防火规范》第3.7.2条、第5.5.8第2款规定的设置1部疏散楼梯的面积要求中,当建筑首层与其余各层建筑、疏散楼梯完全分隔时且首层疏散满足规范要求时,首层建筑面积可不限,但疏散门数量等应符合《建筑设计防火规范》其他相关条文的要求。
〔说明〕本条为《指南(2020版)》第4.1.18条修订,调整部分文字。
4.1.20 符合下列条件之一的房间可设置1个疏散门:
1 建筑面积不大于200㎡的设备间(现行国家标准《建筑电气与智能化通用规范》GB 55024、《民用建筑电气设计标准》GB 51348、《20kV及以下变电所设计规范》GB 50053、《低压配电设计规范》GB 50054、《3~110kV高压配电装置设计规范》GB 50060另有规定的除外);
2 符合《建筑防火通用规范》第7.4.2条要求的位于建筑底部(地上)直接对外或二层直接开门至敞开外廊、室外平台(此敞开外廊、室外平台应通过2部及以上疏散楼梯通至室外地面)的商铺。
〔说明〕本条为《指南(2020版)》第4.1.19条修订,调整规范名称和引用条文。
4.1.21 同一楼层的三个及以上防火分区不得共用同一部疏散楼梯。一部共用疏散楼梯的疏散宽度不得超过3m。
4.1.22 多个单元组合的住宅建筑各单元的高度不同且较低一单元屋顶无天窗或洞口(不包括屋面透气管、通风口)、屋顶耐火极限不低于1.00h时,可按各独立单元的高度来确定其楼梯间形式、消防电梯的设置,高度大于27m的各单元(已设置两个安全出口者除外)疏散楼梯间应通至屋面,且应在相邻的高度大于27m的较低单元屋面连通。(附图4.1.22)

附图4.1.22 单元间疏散楼梯连通
4.1.23 汽车停车位的设置不得影响消防设备用房、室内消火栓箱、消防管道井的正常使用,也不应影响进出安全出口的疏散通道。计算地下车库内最远疏散直线距离时,可不考虑车辆对路线的阻挡,但应考虑实体墙、机械式停车装置等障碍物对路线的阻挡。
〔说明〕本条为《指南(2020版)》第4.1.22条修订,原条文关于汽车坡道防火分区面积计算和疏散距离的相关内容,改至本《指南》第3.1.3条。停车位布置不应影响消防设备用房的开门、消火栓箱开启净空,也不应影响进出安全出口的疏散通道宽度等。
4.1.24 《建筑设计防火规范》第3.8.2条规定的仓库的多个防火分区可以通过疏散走道通至安全出口,疏散走道两侧应采用耐火极限不低于3.00h的防火隔墙。
〔说明〕本条为《指南(2020版)》第4.1.23条修订,提高了相关部位走道防火隔墙的耐火极限。
4.1.25 为商场服务的附属库房,应采用耐火极限不低于2.00h的不燃烧体隔墙分隔,如隔墙上需要开设相互连通的门时,应采用乙级防火门。该附属库房不得储存甲、乙类物品。
4.1.26 同一防火分区总面积超过500㎡的地上和超过200㎡地下附属库房应设置一个独立的安全出口,在商场内第二安全出口可利用商业营业厅疏散;同一防火分区总面积不超过500㎡的地上和200㎡地下附属库房可不设置独立的安全出口,可利用商业营业厅疏散。上述商业营业厅所在防火分区和利用该商业营业厅疏散附属库房的建筑面积之和不应超过商业营业厅的防火分区最大允许建筑面积。
4.1.27 同一防火分区内采用防火措施分隔开的仓储、设备房、工具间、办公、非服务于营业厅的卫生间等可不计入营业厅面积,但应根据实际情况进行核定人数和宽度。
〔说明〕本条为《指南(2020版)》第4.1.26条修订。
4.1.28 高层建筑(裙房除外)直通室外的安全出口上方应设置挑出宽度不小于1.0m的防护挑檐。
4.1.29 红外线感应自动门、旋转门设于安全出口时,该门附近应另设便于人员疏散的平开门。按《建筑与市政工程无障碍通用规范》GB 55019 -2021第3.2.3条第3款设置的水平滑动式门,可作为无障碍厕所的疏散门,此门在火灾时应能自动解锁,人员应不需使用任何工具即能容易地从内部打开,并应在门内一侧的显著位置设置明显的标识;当设有火灾自动报警系统时,应与火灾自动报警系统联动。
〔说明〕本条为《指南(2020版)》第4.1.28条修订,明确水平滑动式门作为无障碍厕所疏散门的要求。
4.1.30 地下一层非机动车库直通室外的自用坡道口与非机动车库之间可不设防火门,可作为人员安全疏散使用,但坡道口应设置挡烟设施,挡烟设施下部距地面的净空高度不应小于2.0m。大开间的非机动车库室内最远点到疏散出口的直线距离不应大于30m。非机动车库应按相关规定设置排烟设施。
〔说明〕本条为《指南(2020版)》第4.1.29条修订。地下一层非机动车库直通室外且无顶盖的坡道,可不按室外疏散楼梯控制其与周边洞口距离。
当该坡道不是非机动车库自用的或其他功能需利用该坡道进行疏散时,应设置防火门。设置自动喷水灭火系统后的疏散距离统一按本《指南》第4.1.15条的规定。
4.1.31 “丁”字型内走道上的房间门的安全疏散距离计算方法如下: 1 当a≤b≤c时,需满足下列要求之一:(附图4.1.31)
(1)2a+b≤X,X为《建筑设计防火规范》表5.5.17位于两个安全出口之间的疏散门至最近安全出口的直线距离;
(2)a+b≤Y,Y为《建筑设计防火规范》表5.5.17位于袋形走道两侧或尽端的疏散门至最近安全出口的直线距离。
2 当a>b时,需满足a+b≤Y,Y为《建筑设计防火规范》表5.5.17位于袋形走道两侧或尽端的疏散门至最近安全出口的直线距离。

附图4.1.31 丁字型走道疏散距离
4.1.32 单个面积不大于200㎡且同一防火分区内总面积不大于400㎡的20kV及以下变配电房等类似小型设备用房(不包括柴油发电机房、锅炉房、消防水泵房、消防控制室),可附设在汽车库防火分区内,但应采用耐火极限不低于3.00h的防火隔墙和甲级防火门与停车区之间进行防火分隔,其疏散门可直接开向汽车库。
〔说明〕本条为《指南(2020版)》第4.1.31条修订,调整总面积控制要求。柴油发电机房、锅炉房、消防水泵房、消防控制室等为建筑整体服务的重要设备用房,不应附设在其下部(含地下)组合建造的汽车库防火分区。仅附设在其中且仅为该汽车库、修车库服务的消防水泵房、消防控制室、自动灭火系统的设备室,才允许和汽车库划分在同一防火分区内。
类似小型设备用房还包括:生活水泵房、报警阀间、污水提升间、雨水收集机房、电信运营商机房等。
4.1.33 地下锅炉房、消防水泵房的疏散门可直接开向疏散楼梯间,当地下锅炉房、消防水泵房不能直通室外地面或疏散楼梯间时,应采用长度不大于15m的疏散走道(走道应与用房之间采取耐火极限不低于2.00h的防火隔墙和乙级防火门分隔)通至最近的安全出口。
〔说明〕本条为《指南(2020版)》第4.1.32条修订,调整部分内容。“长度不大于15m的疏散走道”是指疏散距离不大于15m。
4.1.34《建筑设计防火规范》第5.5.20条关于影院等的疏散宽度只适用于单独建造的相应场所。
4.1.35 疏散出口门的净宽度应符合下列规定:
1 新建住宅建筑的户门净宽不应小于0.90m;
2 住宅建筑的疏散楼梯间在首层开向门厅内的门及疏散楼梯间直通室外的门,其净宽度不应小于0.80m;
3 高层建筑内,仅供地下室疏散楼梯使用的首层疏散外门可不按高层公共建筑首层疏散外门宽度要求设置,其净宽度不应小于0.80m;
4 疏散楼梯间在首层直通室外的门,可按《建筑防火通用规范》第7.1.4条第1款执行;
5 辅助房间(例如卫生间、设备间、垃圾间、储藏间、小型管理用房)在首层直通室外的疏散门的净宽度,可按《建筑防火通用规范》第7.1.4条第1款执行。
〔说明〕修订条文内容,《建筑防火通用规范》已明确的内容不再重复要求,同时合并《指南(2020版)》第4.2.13、4.2.14条内容。
第1款,《住宅项目规范》GB 55038-2025第4.1.14条对新建住宅建筑的户门通行净宽进行了规定,比《建筑防火通用规范》第7.1.4条第1款提高了要求。
疏散出口门净宽度的计算方法:对于单扇门,门的净宽度为门扇呈90°角打开时门框内缘至门表面的水平距离;对于双扇门,为两扇门同时呈90°角打开时,两扇门相对表面之间的水平距离。门的把手等附件,当凸出门表面不大于80mm时,可以不考虑其对疏散的影响。
4.1.36 住宅户内开向非封闭阳台(可兼前室)的门窗可采用普通门窗,其门洞最小尺寸应满足《住宅设计规范》GB 50096的要求。
4.1.37 疏散走道、疏散楼梯设置扶手时,其净宽度可按《民用建筑通用规范》GB 55031-2022(以下简称《民用建筑通用规范》)的规定计算至扶手中心线。
民用建筑中平时基本无人经常停留及使用或使用人数较少的设备用房、储藏室等房间,疏散门开向疏散走道时,可不考虑对疏散走道宽度的影响。
〔说明〕新增条文,明确疏散宽度设计的相关内容。
疏散门开启方向满足规范且不影响房间使用功能时,可考虑房间门内开。平时基本无人经常停留及使用或使用人数较少的房间一般包括管道井上的检修类门、附属库房(储藏室、档案室、资料室、工具间)、设备用房、公共卫生间、茶水间、母婴室等类似功能房间。
4.1.38 疏散通道、疏散走道、疏散出口的净高度可按下列规定执行: 1 当确有困难时,疏散通道、疏散走道上局部设置的挡烟垂壁、梁等突出部位的净高可按《民用建筑通用规范》第3.2.7条执行;
2 疏散楼梯休息平台上部及下部过道处的净高可按《民用建筑通用规范》第5.3.7条执行;
3 机动车库、非机动车库、无人值守或无人员长时间停留的设备间的疏散出口门净高可按《民用建筑通用规范》第3.2.7条执行;
4 人防门和防火门不宜同框设置。人防防护设备的规格及其选用应按相关主管部门的规定执行。
〔说明〕新增条文,明确部分场所、局部位置的净高度要求。
4.1.39 当建筑屋面设置有室外活动场地时,应至少设置一部疏散楼梯直接通至地面,该疏散楼梯间的门应开向屋面。
〔说明〕新增条文,明确屋面、露台有室外使用功能如球场、活动场地时的疏散要求。本条所指活动场地不含儿童活动场所。
4.2 疏散楼梯
4.2.1 用于敞开楼梯间疏散的门厅,与建筑中其他部分之间可不采取防火分隔措施,该敞开楼梯梯段踏步前缘不超过梯段宽度的位置起算到室外的距离不应大于15m。
办公建筑或住宅建筑按规范设置的两个敞开楼梯间,可通过同一个门厅通至室外,该门厅应设置两个直通室外的疏散门,间距不应小于5m。 不用于其他疏散楼梯间疏散的门厅,与建筑其他部分之间可不采取防火分隔措施。
〔说明〕调整文字表述和内容,提高相关门厅疏散门设置要求。
4.2.2 当建筑可直通室外的门距离疏散楼梯间不超过30m时,可采用扩大封闭楼梯间、扩大前室(含合用前室)、火灾危险性低且仅作为人员通行的门厅(以下简称“低危门厅”)通至室外。采用“低危门厅”时应符合
下列规定:
1 该门厅应采用不燃材料装修;
2 与该门厅连通的配套小商铺、服务用房、设备用房应采取耐火极限不低于3.00h的防火隔墙和甲级防火门与门厅进行防火分隔,不应采用防火卷帘替代;与“低危门厅”连通的配套小商铺总建筑面积不应大于60㎡,单处小商铺建筑面积不应大于30㎡;确有需要时,该商铺与门厅之间的开口部位可采用设置长度不大于6m的特级防火卷帘与门厅进行分隔,多个商铺时防火卷帘总长度不应大于9m;
3 当办公和住宅建筑设置的“低危门厅”为通高空间时,仅可在二层回廊设置特级防火卷帘与首层门厅进行分隔,该部位防火卷帘的总长度不应大于15m;
4 当“低危门厅”确需与相邻的商业营业厅连通时,应在连通部位设置防火隔间,防火隔间的设置尚应符合现行《建筑设计防火规范》GB 50016的相关规定;
5 变配电间、垃圾间等服务和设备用房,可按本条的规定与“低危门厅”连通。当有餐厅或厨房与该门厅连通时,应根据餐厅包含厨房的整体规模确定其为商铺或相邻商业营业厅。
〔说明〕修订条文内容,细化“低危门厅”的设置要求。第3款当“低危门厅”为通高空间且连通的层数超过两层时,3层以上不允许设置防火卷帘。
4.2.3 当建筑可直通室外的门距离疏散楼梯间大于30m(从梯段踏步前缘不超过梯段宽度的位置起算)时,应设置避难走道通至室外。通向该避难走道的出入口应在入口设置防烟前室。避难走道的设置尚应符合现行《建筑防火通用规范》GB 50037和《建筑设计防火规范》GB 50016的相关规定。(附图4.2.3)

附图4.2.3
〔说明〕《指南(2020版)》第4.2.2条中关于避难走道的做法单独表述为本条。
4.2.4 住宅建筑和办公建筑的一个剪刀楼梯间的两个梯段或两部疏散楼梯
在首层可利用同一“低危门厅”通至室外,该门厅应设置两个直通室外的疏散门,间距不应小于5m。该门厅尚应符合本《指南》第4.2.2条的规定。
〔说明〕提高低危门厅疏散门设置要求。对于办公建筑,未来有可能改为复合功能的,应慎用本条做法。
4.2.5 疏散楼梯的地下部分与地上部分,在首层通过同一条疏散走道直通室外时,该疏散走道的净宽度不应小于疏散楼梯的地下部分与地上部分各自承担的通至该走道的疏散净宽度两者中的较大值;但按此计算时,该走道不得开设与首层其他空间连通的门、窗洞口,该走道墙体耐火极限不应低于2.00h。
〔说明〕明确疏散楼梯的地上与地下部分通过同一条疏散走道直通室外时疏散宽度计算。当此走道开设有与首层其他空间连通的门、窗洞口时,则疏散宽度应把地上、地下部分的楼梯承担的疏散宽度及首层连通的疏散宽度叠加计算,门、窗均应为乙级防火门、窗。
4.2.6 根据《建筑防火通用规范》第7.4.5条第5款规定,5层及5层以下的办公楼、教学楼等其他建筑(宿舍建筑除外)可为敞开楼梯间。该敞开楼梯间可以不按上、下层相连通的开口考虑(敞开楼梯间应为三面围合的楼梯,仅进出的短边敞开)。
〔说明〕规范名称和条文引用更新。另外,关于饮食建筑的楼梯间形式,一般认为除位于住宅底商外应参照商店建筑,采用封闭楼梯间。
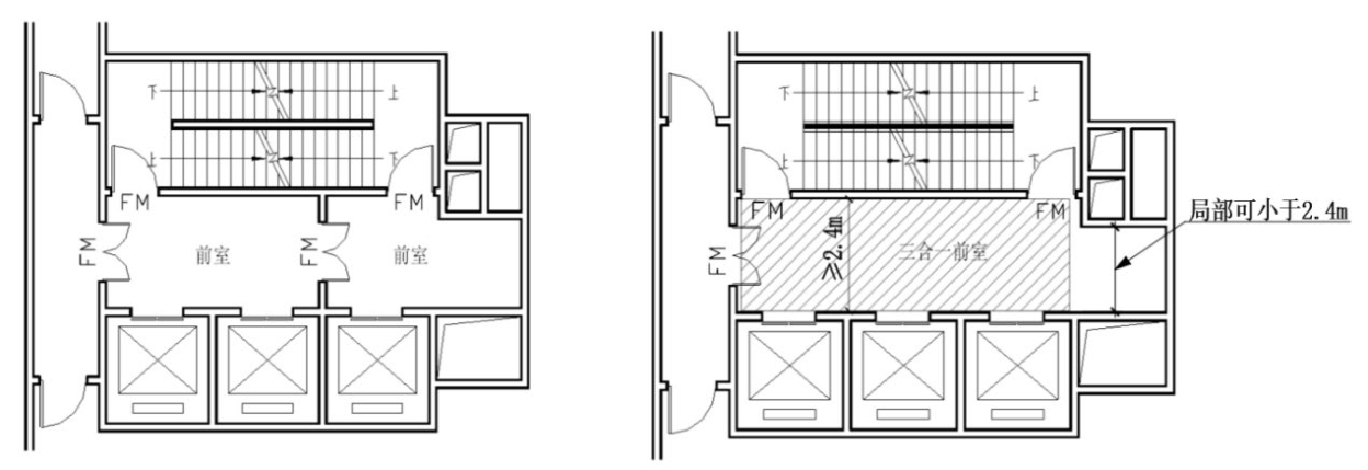
4.2.7 关于住宅剪刀楼梯间的设置,可以按以下除附图4.2.7-3,附图4.2.7-5外的几类图例设计住宅建筑的剪刀楼梯间。对于附图4.2.7-6的情况,户门数不应大于3樘。
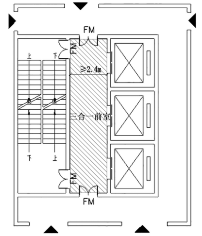
其中三合一前室短边不应小于2.4m是指消防电梯相对应的部分,最小空间不应小于2.4 m×2.4m。


附图4.2.7-1() 附图4.2.7-2()


附图4.2.7-3(×) 附图4.2.7-4()

附图4.2.7-5(×) 附图4.2.7-6()
〔说明〕附图4.2.7-3、4.2.7-5不能使用。附图4.2.7-2和附图4.2.7-5比较,为单个和两个疏散方向的区别;附图4.2.7-5电梯间,当短边大于2.4m且从一个方向进入时,不需设置中间的分隔门。
三合一前室短边不应小于2.4m主要针对消防救援时消防队员从消防电梯进入时的缓冲空间(2.4 m×2.4m),不与消防电梯相对部位的局部管道井处可小于2.4m。
4.2.8 住宅建筑的配套地下车库、储藏室也可与上部建筑一致设置三合一前室的剪刀楼梯间。
4.2.9 住宅建筑的地下车库、储藏室、自行车库,与上部建筑共用同一楼梯间的,其楼梯最小净宽可与上部住宅楼梯净宽一致。
4.2.10 多层公共建筑(不含商场、展厅)的疏散楼梯,当分散设置确有困难且从任一疏散门至最近疏散楼梯间入口的距离不大于10m时,可采用剪刀楼梯间作为两个安全出口使用,但应符合下列规定:
1 楼梯间应为防烟楼梯间;
2 梯段之间应设置耐火极限不低于l.00h的防火隔墙;
3 防烟楼梯间的前室应分别设置。
4.2.11 商场、展厅可设置剪刀楼梯间,但一个防火分区内不得仅设一部剪刀楼梯间作为两个安全出口使用。
4.2.12 地下车库可设置剪刀楼梯间,但一个防火分区内不得仅设一部剪刀楼梯间作为两个安全出口使用。
4.2.13 用于解决疏散宽度采用的剪刀楼梯间,当其位于多层、裙房或符合本《指南》第1.5.3条要求的主体建筑投影范围内的附属部分时可采用封闭楼梯间,两个梯段之间可不设置防火隔墙。
4.2.14 用于疏散的室外台阶,可不按室外疏散楼梯定性;该室外台阶宽度应与疏散宽度匹配,当贴临建筑外窗等开口部位时宽度不应小于3m。
〔说明〕新增条文。《建筑术语标准(征求意见稿)》中,对台阶和楼梯的概念进行了区分——“台阶”为“连接不同标高的楼面、地面的阶梯式踏步”,“楼梯”为“由连续行走的梯级、休息平台以及相应的支承结构组成的作为楼层之间垂直交通用的建筑部件,一般有围护安全的栏杆(或栏板)、扶手”。室外台阶一般不涉及竖向多个楼层的连续疏散。
4.2.15 防烟楼梯间的前室、合用前室、消防电梯前室内允许设置普通电梯的门,该普通电梯的线缆及装修应符合消防电梯的要求;地下室楼梯间及前室、合用前室、消防电梯前室内允许设置人防防爆活门。
〔说明〕增加明确普通电梯的线缆及装修要求。
4.2.16 防烟楼梯间及封闭楼梯间内不得设置管道井、电缆井,当符合下列条件时,建筑高度33m及以下住宅建筑的楼梯间内以及住宅建筑的防烟楼梯间前室、消防电梯前室、合用前室内(含地下室)可设置管道井和电缆井:竖井每层封堵;检修门采用乙级防火门;开向敞开楼梯间和防烟楼梯间前室的户门为乙级防火门。
4.2.17 当住宅户门为乙级防火门时,住宅的电表箱可设置在防烟楼梯间前室的管道井内或其他形式的楼梯间内,但电表箱外壳应采用不燃材料。
4.2.18 除敞开楼梯间和作为防烟楼梯间前室的阳台、凹廊外,其他楼梯间及前室的内墙上均不得开设与疏散无关的门、窗及洞口。当户门为乙级防火门时,建筑高度33m及以下住宅建筑的楼梯间(含埋深不超过10m的地下层且不超过地下二层)内可设置电梯及管道井、电缆井。
4.2.19 疏散楼梯间、前室或合用前室、消防控制室、消防水泵房、消防电梯机房等直接开向室外或室外平台的疏散门,可采用普通门。
当消防控制室、消防水泵房、消防电梯机房等的普通门与相邻疏散楼梯间及其前室的开口间距小于1.0 m时,应采取防止火势通过开口蔓延的措施。
〔说明〕根据《建筑防火通用规范》第7.1.8条第8款的要求补充明确。
4.2.20 根据《建筑防火通用规范》第7.1.8条第8款,疏散楼梯间及其前室上的开口与建筑外墙上的其他相邻开口最近边缘之间的水平距离,应按下列规定控制:
1 防烟楼梯间与其自身的前室(含合用前室)在外墙上的相邻开口间距可不限;
2 同一防火分区内不同的疏散楼梯间或前室(含合用前室)在外墙上的相邻开口间距可不限;当疏散楼梯间或前室(含合用前室)位于防火墙两侧时,两侧相邻洞口间距不应小于2.0 m;
3 地上和地下疏散楼梯间在首层外墙上的相邻开口间距可不限,但窗槛墙应符合《建筑设计防火规范》第6.2.5条的规定;
4 疏散楼梯间及其前室上的开口与两侧相邻的通风井、排烟井等开口的间距不应小于1.0 m。
〔说明〕新增条文,细化疏散楼梯间及其前室上的开口与建筑外墙上的其他相邻开口最近边缘之间的水平距离的控制要求。
4.3 消防电梯和屋顶直升机停机坪
4.3.1 住宅建筑的消防电梯在商业服务网点楼层可不停靠。
4.3.2 住宅建筑与其他使用功能的建筑合建时,住宅部分和非住宅部分的消防电梯配置,可根据各自的建筑高度分别按照《建筑设计防火规范》有关住宅建筑和公共建筑的规定执行。
4.3.3 当满足安全疏散距离时,住宅建筑设置的跃层所在楼层可不开设户门,消防电梯可不在跃层停靠。
4.3.4 需要设置消防电梯的建筑,在同一层内设有多个防火分区时,2个防火分区可以合用1台消防电梯;确有困难时,地下室的1台合用消防电梯服务的防火分区数量不应超过3个且总面积不应超过4000㎡。当合用消防电梯时尚应满足以下要求:(附图4.3.4)
1 各防火分区应直接或通过走道进入消防电梯前室;
2 消防电梯数量不少于2台(当其中一台消防电梯受阻时,还可利用直接相邻防火分区的消防电梯)。


附图4.3.4 消防电梯的合用
〔说明〕修改附图。
4.3.5 当地下、半地下建筑(室)埋深大于10m的部分划分为独立的防火分区,与不大于10m 的部分采用防火墙和甲级防火门分隔(不应采用防火卷帘替代),且两部分疏散完全独立时,《建筑防火通用规范》第2.2.6条第6款中“埋深大于10m且总建筑面积大于3000㎡的地下或半地下建筑(室)”可仅计算埋深大于10m的部分的总建筑面积。
当埋深大于10m的地下汽车库与不大于10m的部分按本条前述要求划分为独立的部分并单独计算总建筑面积时,埋深大于10m的地下汽车库应设置独立的汽车疏散出口。
〔说明〕地下、半地下汽车库应计入埋深和总建筑面积,本条内容进行修订。
4.3.6 直升机停机坪的尺寸为直径不小于21m,直升机救助设施的场地尺寸为长、宽分别不小于15m、12m。
- 上一节:第三章 防火分区和建筑结构、构造
- 下一节:第五章 消防给水